- 仪器总数
- 仪器总价值(元)
- 年使用机时(小时)
- 公告栏
- 中心概况
- 学校简介
- 联系我们
各位同学:
大家好!应管理和统计需求,本平台仪器预约必须填写项目信息和基金来源,以便今后的统计汇总。系统升级后我们发现部分同学的“项目信息”栏没有内容,无法正常预约。该问题原因为部分导师账户在注册时没有填写项目信息的缘故,请遇到该问题的同学按如下方法处理:
1、需要使用导师的账号登录本系统
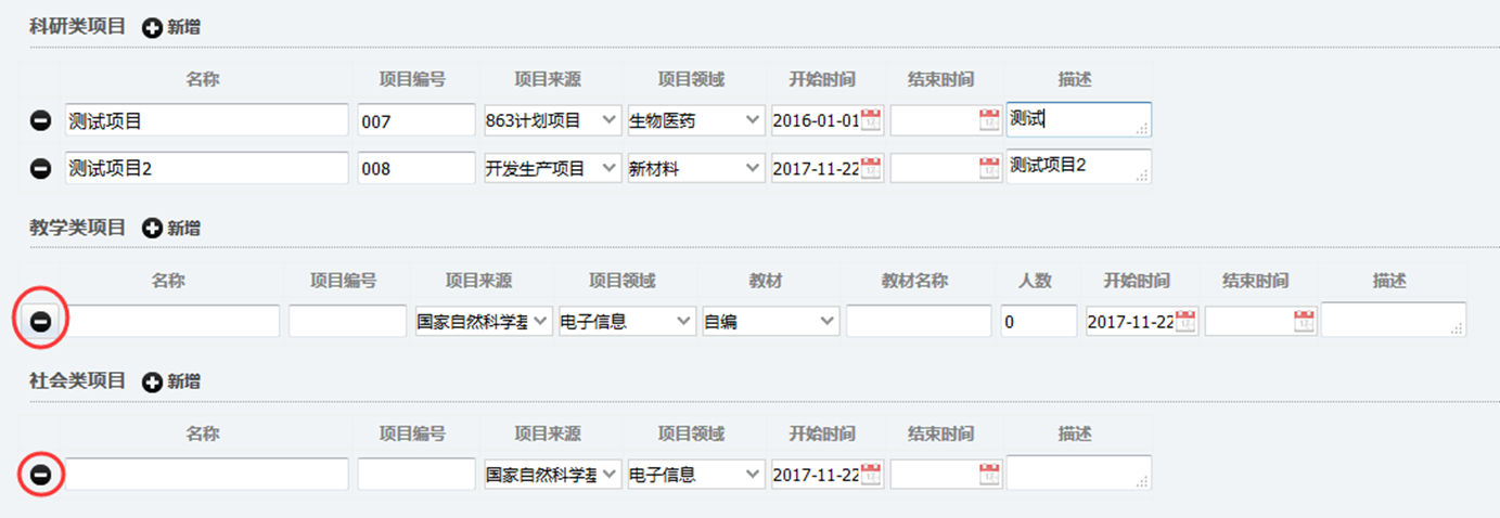
2、导师账户登录后,点击左侧菜单“课题组”,选择“项目信息”,然后填写相关的项目信息,必须写清楚真实的项目名称、项目编号、项目基金来源、项目领域、开始时间以及详细的描述
.png)
3、如果导师有多个科研类项目,可以点击科研类项目后面的新增,继续填写新的条目。
.png)
4、如果没有需要添加的教学类条目、社会类条目,请在空白条目前按“-”删掉空白条目,否则会报错,提示“出错,xx类项目存在命为空”“”
.png)
如图为报错提示:
.png)
5、如图,点击保存,则可以添加所需信息了,导师的所有学生在预约的时候就可以选择与实验相关的项目信息了。
.png)
以上请知悉!给各位同学带来不便,敬请谅解,谢谢大家的合作!
2017年11月22日
.jpg)
概 况:南方医科大学(原中国人民解放军第一军医大学)中心实验室成立于2015年。它是学校围绕广东省高水平大学建设目标,进一步贯彻落实学校科技工作会议精神,而新建的一个具有基础性、综合性、共享性、服务性的中心。其理念为“服务科研,孵化创新”,促进学校科技资源高效配置和综合利用,快速提升学校科技核心竞争力。
规 模:中心实验室占地面积3000m2 ,划分为六大模块,分别是:分子医学实验、形态学实验、医学成像技术实验、物质结构解析、中央控制(实验技术培训)和中心标本库(筹建)模块,其中,前五个模块服务区占地面积2000m2、中心标本库(筹建)模块占地面积约1000m2。
←左图为实验室部分仪器
使 命:中心实验室作为全校重大科技创新共享支撑平台,将通过集中购置大型仪器设备、固定科研场地、优化功能分区布局、培训专业化实验技术人员和管理人员等方式,创新科技资源管理运行机制,将中心实验室建设成为全校大型仪器设备资源配置和共享使用的枢纽、高端共用大型科研仪器设备的聚集地、医学实验技术操作和仪器设备管理的培训基地、高层次人才科技创新和学生创新创业的流动站,致力解决制约学校科技发展的核心设备(群)或关键技术瓶颈问题,为全校的科学研究提供最全面、快捷、可靠的实验技术支撑服务和设备保障,引领学校的科技创新。

南方医科大学前身为中国人民解放军第一军医大学,创建于1951年,1979年被确定为全国重点大学,2004年8月整体移交广东省,更名为南方医科大学。学校是广东省高水平大学重点建设高校中唯一的医学院校,全国首批、广东省唯一一所“部委省”共建高校,全国首批开设八年制本硕博连读临床医学专业的8所高校之一,全国首批卓越医生教育培养计划试点高校。

办学规模:面向全国31个省、自治区、直辖市及港澳地区招生。现有19个教学机构,开设本科专业35个,其中8个国家特色专业,10个广东省特色专业,6个广东省名牌专业,2019年12个专业获首批国家一流本科专业建设点。全日制本科生13588人,研究生5564人,留学生1043人。本科生与研究生年度招生比例1.67:1,博士招生规模位列全国独立医学院校第2,在广东所有高校中排名第3。
学科建设:现有10个博士学位授权一级学科,8个博士后流动站,其中医学类博士学位授权一级学科数在全国独立医科院校中排名第二。拥有5个国家重点及培育学科。
人才培养:学校是国家13所试办八年制医学教育的高等院校之一,也是唯一一所开设八年制医学教育的独立医科院校,全国首批“卓越医生教育培养”试点高校,与20个国家和地区的61所大学、科研机构建立了友好合作关系。先后获国家级教学成果奖12项,省级教学成果奖41项。近年来,本科毕业生中先后涌现出侯凡凡、夏照帆等多名两院院士。全国执业医师资格考试中,临床医学通过率最高排名全国第4,中医学3次排名全国第1。2017年本科生获全国临床技能大赛一等奖。2008年以来,学校是广东省唯一一所连续5届获“创青春 挑战杯”全国大学生创业大赛金奖高校;2015年获第十四届“挑战杯”全国大学生课外学术科技作品竞赛中特等奖1项,总分位列全国高校第27名;近两届竞赛成绩位居全国医药类高校第2。2015年以来,先后有2人获“中国大学生年度人物”入围奖,6人获评“广东省大学生年度人物”或提名。据中国科学评价研究中心发布的《中国研究生教育及学科专业评价报告》,我校2018年研究生教育竞争力排名全国第79名,居独立医科院校第4名。
师资队伍:现有国家级人才152人次,省级人才342人次,其中院士3人、双聘院士4人,国家级教学团队3个,国家教学名师4人,国家高层次人才14人,长江学者11人,国家杰青15人,国家特支计划9人,“百千万人才工程”国家级人选16人,科技部中青年科技创新领军人才5人,国家“优青”9人。
科学研究:现拥有国家、省部级科研平台86个,其中含国家重点实验室、国家临床医学研究中心、全国科普教育基地、国家国际科技合作基地和国家创新人才培养示范基地各1个。拥有国家自然科学基金创新研究群体和科技部重点领域创新团队各1个,教育部创新团队2个。先后以第一完成单位获国家自然科学二等奖2项、国家技术发明二等级1项、国家科技进步二等奖15项、全国专利优秀奖1项、省部级科技一等奖53项,获奖总数居省属高校第1位。4项科技成果入选全国年度科技十大进展。现有4人次在中华医学会和中国医师协会各专科分会任主委。连续三个五年计划牵头承担了传染病防治国家科技重大专项并获得滚动支持。2019年获国家自然基金277项,立项数居全国独立医科院校第2位,连续4年跻身全国高校30强。《南方医科大学学报》入选“中国科技期刊卓越行动计划”梯队期刊类项目,连续7年获得“百种中国杰出学术期刊”称号,综合评价得分位列全国医药大学学报类期刊第1位。
医疗实力:现有13所直属附属医院,展开床位数超过12600张,年诊疗量超过1645万人次。拥有17个国家临床重点专科、60个广东省临床重点专科、12个广东省医疗质量控制中心。附属南方医院入选广东省高水平医院建设“登峰计划”,牵头建设国家创伤区域医疗中心,综合实力在复旦2018年度中国医院排行榜位居第17名。
.png)
地址:广州市白云区沙太南路1023号 南方医科大学生命科学楼首层
电话:020-6164 7252 020-6164 7467
网址:http://clab.smu.deu.cn
邮编:510515
预约信息
实时仪器排行
统计排行
- 使用排行
- 预约排行
- 收藏排行
仪器使用走势
- 年
- 月
-
2026